In this article, we will speak about another possible use of a vortex layer device and discuss resin glue or rather its emulsion production.
Resin glue is a product of mixing synthetic resins with a hardener. It has good performance properties and is used in many industries owing to its advantages.
Resin glue advantages
Resin glue has the following advantages:
- after application, a strong bond between the surfaces to be glued develops very quickly;
- durability of bond of glued surfaces;
- no shrinkage, incompressibility at temperature and humidity fluctuations, resistance to ultraviolet radiation;
- resistance to chemicals.
Resin glue use
High performance properties of resin glue have determined the wide scope of its use. Due to its high water resistance, unlike other substances of similar intended purpose, it can be used even under the water. In this case, almost any materials can be bonded together: plastic, glass, metals, stone, ceramics, etc.
Specific fields of resin glue use:
- construction (gluing of construction materials);
- marine industry (binders for construction of boats and wooden vessels);
- production of composite materials (fiberglass reinforced plastic (FRP) doors and panels);
- aviation industry (bonding of aircraft materials, subassemblies, and sections);
- packaging industry (coating for food packages to protect against moisture and air);
- pulp and paper production (paper pulp gluing), etc.
Let us further discuss resin glue production for paper pulp gluing.
Paper pulp gluing
Paper pulp gluing is used in order to impart the properties that resin glue possesses, i.e. water resistance and increased mechanical strength, to the final product (paper).
Rosin is used for gluing, but due to its considerable cost and shortage, it is advisable to use tall oil pitch for that purpose. Let us discuss a method for intensifying the process of rosin (or tall oil pitch) saponification with simultaneous obtaining of stable emulsion during continuous glue production. The process intensification is achieved by processing the ingredients in a vortex layer device with a plate vibrator.
A vortex layer device (AVS) is a device based on the principle of creating a rotating electromagnetic field by means of an inductor. An operating chamber made of non-magnetic material is placed into the inductor. And ferromagnetic particles with a certain length-to-diameter ratio are fed into the operating chamber. These particles outwardly resemble needles. After a rotating electromagnetic field arises, the particles begin to move through the operating chamber volume and constantly change their trajectory due to constant collisions with one another and with the operating chamber walls. Thus, a vortex layer is generated.
If initial ingredients are fed into the operating chamber of AVS, they will be thoroughly mixed due to both a rotating electromagnetic field and the mixing effect of the particles each of which functions as a mini-mixer. It allows obtaining stable emulsions and suspensions. In addition, a vortex layer comprises other factors and effects which make it possible to accelerate the course of processes tens and even hundreds of times. These include:
- acoustic vibrations generated by the magnetostriction of each ferromagnetic particle;
- cavitation (occurs in liquid media);
- high local pressures;
- high specific energy of a vortex layer, etc.
Resin glue production by means of a vortex layer device
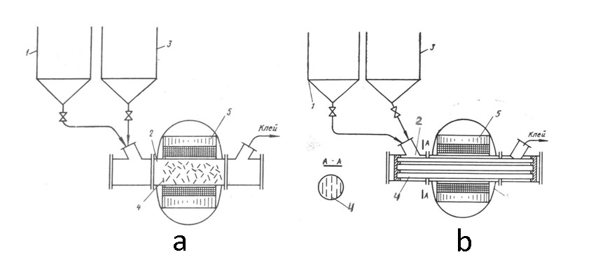
A resin glue production unit (Figure 1) consists of a reactor (1) for preparing CaCO3 solution at the temperature of 58–61 °C, a melter (3) for heating the rosin (tall oil pitch) to the temperature of 71–78 °C and feeding that into the operating zone of AVS-100 device.
Figure 1 – Schematic diagram for obtaining a resin glue emulsion: а) AVS and b) electromagnetic device with a plate vibrator: 1 – melter, 2 – operating chamber of electromagnetic device, 3 – tank for СаСО3 solution, 4 – ferromagnetic particles, 5 – electromagnetic field inductor
Testing the unit in an industrial environment has shown that glue preparation with the use of electromagnetic devices allows obtaining a finely dispersed emulsion, for example, tall oil pitch of any concentration. It should be noted that the pitch emulsification efficiency is greatly influenced by the concentration of soda in the solution. The optimal concentration is 2.5 … 10 g/L. The obtained glue can be easily diluted with cold water to any concentration. The quality of craft paper using tall pitch resin glue complies with the standard.
Advantages of vortex layer devices in resin glue production
- high capacity (when obtaining the emulsions, the capacity of AVS-150 device is 10 m3/h and greater);
- low specific energy consumption due to accelerated process and low power consumption (AVS-100 device consumes 4.5 kW of power, and AVS-150 — 9.5 kW);
- easy installation and setup of technological line (no special pedestals are required for installing AVS);
- production floor space saving due to compact dimensions of the device;
- reliable operation and durability (the devices have no dynamic seals, and their service life measures up to decades).
In order to get advice with regard to setting up a technological line for resin glue production, please contact our technical professionals using some of the contact details contained in the appropriate website section.

